泵閥知識News Center
泵閥類目展示Product category
熱門標簽Hot News
 
	  
	  [2022-09-07]_氟塑料離心泵發生原因:1.氟塑料離心泵葉輪同心度有偏移.2.氟塑料泵泵軸彎曲.3.氟塑料泵安裝松動.4.氟塑料泵管路振動產生共振.5.聯軸器未校正或者缺損...[閱讀全文]
 
	  
	  [2022-09-06]_化工自吸泵是指自吸式離心泵.常用化工自吸泵種類有哪些?主要根據工況環境分為民用的深井水的化工自吸泵(自吸高度30米),含有氣體泡沫的氣液泡沫化工自...[閱讀全文]
 
	  
	  [2022-09-01]_防腐自吸水泵 是工業生產中常用的化工泵,防腐自吸泵具有耐酸、耐堿性能和防腐離心泵一樣,采用工程塑料材質制造,具有很強的耐腐蝕功能,在化工行...[閱讀全文]

0563-5090136
很多用戶在使用氟塑料自吸泵的過程中由于自吸泵自身的自吸能力較小導致很難把水吸上來,這時候就需要想辦法提高氟塑料自吸泵自吸能力,以下概括以下五種方法,看哪種適合您的工況!
	
推薦閱讀:《襯氟自吸泵安裝七大注意事項》
方法一
氟塑料自吸泵在水泵吸水管路上設置真空泵,水泵啟動前,真空泵先啟動,使水泵吸水管內先布滿水,保持水泵自動、迅速啟動。
這種吸水方式需要有完善的自動控制系統以保持正常工作。
方法二
氟塑料自吸泵減少進水管道彎道、落差高度和水平間隔。
方法三(麻煩但好用)
氟塑料自吸泵設置泵前吸水罐。這種方式需要在水泵吸水管上設置一個吸水罐,水泵在首次運行前,罐內應人工灌滿水,首次運行休止后,由于吸水罐的進水管高度高于管內水面高度,盡管水池內水面高度低于罐內水面的高度,罐內的水也不會倒流,進入水池,所以,吸水罐內能儲存一定的水,又由于吸水罐的出水管(即水泵的吸水管)高度低于管內水面高度,故能保持水泵的吸水管內布滿水,以后水泵再運行時,水罐內的水被水泵抽走,罐內泛起負壓,水池中的水在大氣壓力的作用下增補到吸水罐內,通過吸水罐水池內的。
方法四
氟塑料自吸泵的吸水管末端安裝吸水底閥。吸水底閥實際上是一種止回閥,它保持水流只能由水池進人吸水管而不能倒流,所以假如吸水管內布滿水,盡管水泵軸線標高高于水池的工作水位,但因為有吸水底閥的作用,吸水管內的水不會流入水池,可使吸水管內一直都布滿水,保持水泵能自動、迅速啟動。
將底閥取消,取而代替的是一個簡單的引水桶,這樣就解決了水泵經常抽不上水的問題,很適用。
	
方法五
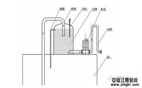
在泵結構上做文章,例如下圖 自吸泵是直接將真空葉輪與離心泵結合在一起 。
	
相似導讀:防腐自吸水泵七大安裝要點>>>>防腐自吸水泵 是工業生產中常用的化工泵,防腐自吸泵具有耐酸、耐堿性能和防腐離心泵一樣,采用工程塑料材質制造,具有很強的耐腐蝕功能,在化工行業中得到廣泛應用。因為防腐自吸水...more+

FMB-CSJ耐腐耐磨料漿泵簡稱“FMB-CSJ料漿泵”,過流部件采用鋼襯目前國內新一代耐腐耐磨合金制造。該料漿泵...
詳細了解
IHF氟塑料化工離心泵簡稱為“IHF化工離心泵”是單級、單吸、懸臂式離心泵,IHF化工離心泵泵體采用金屬外殼...
詳細了解
IHF-JNS氟塑料合金離心泵簡稱為“IHF-JNS氟塑料合金泵”是單級、單吸、懸臂式離心泵,泵體采用金屬外殼內襯...
詳細了解
CMB耐顆粒耐腐蝕泵,運用ANSYSICEM+CFD、CFX有限元分析、流體可視化仿真技術設計高性能的水力模型,CMB耐腐蝕泵...
詳細了解
很多用戶在使用氟塑料自吸泵的過程中由于自吸泵自身的自吸能力較小導致很難把水吸上來,這時候就需要想辦法提高氟塑料自吸泵自吸能力,以下概括以下五種方法,看哪種適合您的工況...

江南榮獲安徽知名
          品牌,更放心

多年研發經驗
          造就穩定產品質量

所有產品初用到報廢
          一路跟進

泵閥技術支持
          7x24小時保障
